CMC-MX内置旁路软起动器介绍:
CMC-MX内置旁路电机软起动器是一种基于触发闭环算法的调压、限流式智能异步电动机软起动器,优越的电力电子电路检测和先进的闭环控制算法使得起动和保护功能更加完美。内置旁路接触器触点采用磁保持型接触器,不同于其他外置旁路交流接触器长期带电运行方式。本产品无噪音、无电磁污染、不产生火花,绿色环保。
CMC-MX内置旁路软起动器作用:
它能无阶跃地平稳起动/停止电机,避免因采用直接起动、星/三角起动、自耦减压起动等传统起动方式起动电机而引起的机械与电气冲击等问题,并能有效地降低起动电流及配电容量,避免增容投资。同时CMC-MX软起动器内部集成电流互感器、接触器,用户无需外接。
CMC-MX内置旁路软起动器型号说明:

CMC-MX内置旁路软起动器特点:
1、多种起动方式
用户可选择限流起动、电压斜坡起动,并可在每种方式下施加可编程突跳起动及起动电流限制。满足现场需求,实现良好的起动效果。
2、可靠性
微处理器对控制系统中的信号进行数字化处理,避免了以往模拟线路的过多调整,从而获得很好的准确性和执行速度。
3、强大的抗干扰性
所有外部控制信号均采用光电隔离,并设置了不同的抗噪级别,适应在特殊的工业环境中使用。
4、简便的调整方式
控制系统应用范围广,方式调整简便、直观,通过各种功能选项可匹配各类不同的控制对象。
5、优化的结构
独特的紧凑内部结构设计,特别方便用户集成到已有系统中,为用户节约了电流互感器和旁路接触器的费用。
6、电源频率自适应
电源频率50/60Hz自适应功能,方便用户使用。
7、模拟输出
4-20mA电流输出功能,方便用户使用。
8、MODBUS-RTU通讯
在进行网络通讯时,可连接32台设备。用户可通过对波特率、通讯地址的设定以达到自动通讯的目的。通信地址设定范围为1-32,出厂值为1。通信波特率设定范围为:0、2400;1、4800;2、9600;3、19200;出厂值为2(9600)。
9、保护功能完善
多种电机保护功能(如过流、输入输出缺相、晶闸管短路、过热保护、漏电检测、电子热过载、内部接触器故障、相电流不平衡等)确保电机及软起动器在故障或误操作时不被损坏。
10、维护简便
由4位数码显示组成的监控信号编码系统,24小时监控系统设备的工作状况,同时提供快速故障诊断。
CMC-MX内置旁路软起动器使用条件:
|
控制电源 |
AC110V--220V±15%,50/60Hz |
|
三相电源 |
标准接线AC380V 内三角接线AC380V±30% |
|
标称电流 |
15A--560A,共18种额定值 |
|
适用电机 |
一般鼠笼型交流异步电机 |
|
起动斜坡方式 |
限流软起动、电压斜坡起动 |
|
停车方式 |
自由停车、软停车 |
|
逻辑输入 |
阻抗1.8KΩ,电源+15V |
|
起动频度 |
可做频繁或不频繁起动,建议每小时起动不超过10次 |
|
保护功能 |
断相、过流、短路、SCR保护、过热、欠载、相电流不平衡、接线、内部故障等 |
|
防护等级 |
IP00、IP20 |
|
冷却方式 |
自然冷却或强迫风冷 |
|
安装方式 |
壁挂式 |
|
环境条件 |
海拨超过2000米,应相应降低容量使用 环境温度在-25-+45°C之间 相应湿度不超过95%(20°C±5°C) 无易燃、易爆、腐蚀性气体,无导电尘埃,室内安装,通风良好,振动小于0.5G |
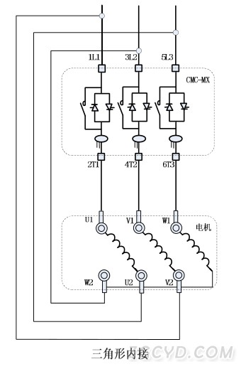
CMC-MX内置旁路软起动器基本接线原理图:
软起动器端子1L1、3L2、5L3接三相电源, 2T1、4T2、6T3接电动机。无需外接旁路接触器,软起动器可通过参数设定选择是否检测相序。

三角形内接连接图
若用户使用三角形内接连接时,用户必须严格按照下图进行连接,否则有可能导致电机或软起损坏。本机在启动前会对电机接线进行判断,若接线错误软起会报接线错误故障。

附表一:软起标准接线规格型号及附件选用(以380V为例):
|
适配电机(KW) |
软起动器型号 |
额定电流 (A) |
一次线规格 (铜线) |
|
7.5 |
CMC-MX008/3 |
18 |
6 mm2 |
|
11 |
CMC-MX011/3 |
24 |
10 mm2 |
|
15 |
CMC-MX015/3 |
30 |
16 mm2 |
|
18.5 |
CMC-MX018/3 |
39 |
16 mm2 |
|
22 |
CMC-MX022/3 |
45 |
16 mm2 |
|
30 |
CMC-MX030/3 |
60 |
25 mm2 |
|
37 |
CMC-MX037/3 |
76 |
25 mm2 |
|
45 |
CMC-MX045/3 |
90 |
35 mm2 |
|
55 |
CMC-MX055/3 |
110 |
50 mm2 |
|
75 |
CMC-MX075/3 |
150 |
70 mm2 |
|
90 |
CMC-MX090/3 |
180 |
20×3铜排 |
|
110 |
CMC-MX110/3 |
218 |
20×3铜排 |
|
132 |
CMC-MX132/3 |
260 |
25×3铜排 |
|
160 |
CMC-MX160/3 |
320 |
30×3铜排 |
|
185 |
CMC-MX185/3 |
370 |
30×4铜排 |
|
220 |
CMC-MX220/3 |
440 |
40×5铜排 |
|
250 |
CMC-MX250/3 |
500 |
40×5铜排 |
注:标准接线指电机绕组三角型或者星型连接,晶闸管连接在电源与电动机之间。
附表:软起内三角接线规格型号及附件选用(以380V为例)
|
适配电机(KW) |
软起动器型号 |
额定电流 (A) |
一次线规格 (铜线) |
|
7.5 |
CMC-MX008/3 |
18 |
6 mm2 |
|
11 |
|||
|
15 |
CMC-MX011/3 |
24 |
10 mm2 |
|
18.5 |
|||
|
22 |
CMC-MX015/3 |
30 |
16 mm2 |
|
30 |
CMC-MX022/3 |
45 |
16 mm2 |
|
37 |
CMC-MX030/3 |
60 |
25 mm2 |
|
45 |
|||
|
55 |
CMC-MX037/3 |
76 |
25 mm2 |
|
75 |
CMC-MX055/3 |
110 |
50 mm2 |
|
90 |
CMC-MX075/3 |
150 |
70 mm2 |
|
110 |
|||
|
132 |
CMC-MX090/3 |
180 |
20×3铜排 |
|
160 |
CMC-MX110/3 |
218 |
20×3铜排 |
|
185 |
CMC-MX132/3 |
260 |
25×3铜排 |
|
220 |
CMC-MX160/3 |
440 |
30×3铜排 |
|
250 |
CMC-MX185/3 |
500 |
30×4铜排 |
|
280 |
CMC-MX220/3 |
630 |
40×5铜排 |
|
315 |
注:内三角接线是指电动机绕组三角形-晶闸管与绕组串联。内三角控制主要的优点是可以降额选用软起动器,内三角接法中流过软起和电机的电流是线电流的1/ √3。上表采用余量选用软起动器,按照线电流/1.5倍的额定电流来选用。用户在选用过程中可按照实际情况进一步降额选用软起动器。
订货须知
用户在订货时,请将产品型号、规格、负载情况及使用条件通知供货方,以便正确选择产品。
软起动器标准配置含内置电流互感器和内置接触器,用户无需外接电流互感器和旁路接触器。
上表中的附件仅供参考。
附表二:软起动器外形及开孔尺寸(单位:mm 以380V为例):



CMC-MX系列内置旁路软起动器选型:
|
序号 |
额定 电流(A) |
380V |
尺寸(mm) |
|
适配功率(KW) |
173×275×192 (宽×高×厚) |
||
|
1 |
18 |
7.5 |
|
|
2 |
24 |
11 |
|
|
3 |
30 |
15 |
|
|
4 |
39 |
18.5 |
|
|
5 |
45 |
22 |
|
|
6 |
60 |
30 |
|
|
7 |
76 |
37 |
|
|
8 |
90 |
45 |
|
|
9 |
110 |
55 |
|
|
10 |
150 |
75 |
285×450×305 (宽×高×厚) |
|
11 |
180 |
90 |
|
|
12 |
218 |
110 |
|
|
13 |
260 |
132 |
|
|
14 |
320 |
160 |
|
|
15 |
370 |
185 |
|
|
16 |
440 |
220 |
320×523×305 (宽×高×厚) |
|
17 |
500 |
250 |
更多有关CMC-MX内置旁路软起动器的安装方向、安装空间、电路安装、电路连接、端子说明、显示和操作说明、控制模式、参数项和说明、故障检测以及排除、通讯控制、日常维护以及软起动器的选型,您可以登录我司官网、

